化学白磷用防爆储纳装置
一、成果简介
白磷因其特殊的物理化学性质,在工业和化学实验等多个领域有广泛应用。特别是在工业生产中,白磷是生产磷酸、磷酸盐及其他磷化合物的重要原料。在化工产业中,通过白磷可以制备多种含磷的化工产品,广泛应用于肥料、农药、食品添加剂等领域。白磷具有毒性和易燃性,在使用和储存过程中需要特别注意安全。
由于白磷的燃点低,在空气中容易自燃,所以当前白磷一般浸没在水中保存,以隔绝空气。但是白磷从水中取出时,表面会潮湿,从而造成白磷的着火点较低,而且在水中会融入氧气,这样在白磷在储纳设备刚脱离水时容易产生燃烧并发生爆炸。
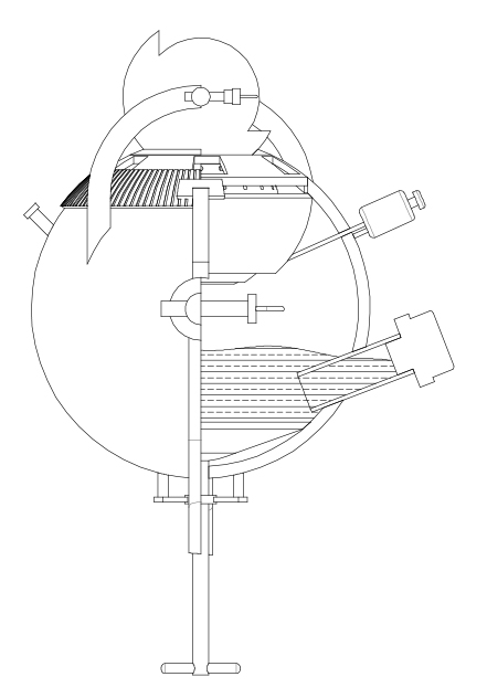
该化学白磷用防爆储纳装置,通过设置外罩、托盘、内球和堵球,在将白磷放入前,通过堵球对外球的上端进行封堵,向燃烧罩与内球之间加入碳块,通过点火器将碳点燃,在碳燃烧时通过透孔对外球和内球内部的空气进行消耗,在空气消耗完后,碳熄灭,同时使内部空间处于干燥状态,待内部冷却后,将白磷先从放料管放入下方水层内,与外部空间隔离,对放料管上端封堵,白磷进入到水层后滑落到托盘上,使托盘向上移动将白磷推入上方的内球干燥的空间,白磷通过内球下方孔进入到内球内,同时托盘对内球的下方的孔封堵,转动外球上下颠倒,使水与内球和燃烧罩外壁接触进行降温,在需要取出白磷时转动堵球使接料槽与内球内部连通,使内部的白磷从内球干燥空间内掉入接料槽内,解决了在白磷在储纳设备刚脱离水时容易产生燃烧并发生爆炸的问题。
![]()

图1.外球内部结构
二、应用领域
可应用于金属包装容器及材料制造领域及化学白磷储纳领域。
三、市场前景
化学白磷用防爆储纳市场前景广阔,主要得益于白磷的广泛应用和市场需求增长。
白磷是一种重要的化学试剂,广泛应用于农药及化工合成等领域。随着精细化工技术的进步和环保法规的趋严,白磷的技术水平不断提升,特别是在纯度控制、安全性评价和环保性能方面取得了显著进步。通过采用先进提纯技术和密闭生产设备,白磷的品质和操作安全性得到了提高;废弃物回收和清洁生产技术的应用则增强了其在可持续发展中的适用性?。此外,白磷还可以开发为具有特殊功能的医药中间体或反应溶剂,进一步拓展了其应用领域?。
图2.部分结构正视结构示意图
四、知识产权
1、成果由北京理工大学单独持有;
2、本成果已授权专利。
五、合作方式
合作开发、技术服务和咨询、技术许可、技术转让等。
六、对接方式
(1)合作意向方联系北理工技术转移中心;
(2)北理工技术转移中心沟通了解意向方情况;
(3)会同成果完成团队与意向方共同研讨合作方案。
北京理工大学技术转移中心
电话:010-68914920
邮箱:bitttc@bit.edu.cn
网址:www.ht55016.cn
未经授权,请勿转载
